Accumulo
L’installazione della caldaia con serbatoi di accumulo comporta i seguenti vantaggi:
- minore consumo di combustibile (del 20 – 30 %) grazie al fatto che la caldaia funziona a piena potenza e ad efficienza ottimale fino alla completa combustione del combustibile
- elevata vita utile della caldaia e del camino – formazione minima di catrame e acidi
- possibilità di combinazione con altri tipi di riscaldamento – elettricità di accumulo
- indicato per combinazioni di elementi riscaldanti (radiatori) con riscaldamento a pavimento
- riscaldamento confortevole e combustione completa ideale del combustibile
- garanzia di riscaldamento più ecologico
- 3 anni di garanzia sul corpo della caldaia
Il collegamento con serbatoi di accumulo è consigliato come preferito.
Se non è possibile disporre del volume consigliato dei serbatoi di accumulo, collegare la caldaia almeno con un serbatoio di compensazione da 500 – 1000 l. In conformità alla norma ČSN 060830, l’installazione dell’impianto di riscaldamento deve essere eseguita da un’azienda specializzata. Se viene scelto un serbatoio di accumulo di grande capacità, la potenza della caldaia deve essere adeguata per poter caricare il serbatoio in un tempo ragionevole. Per il calcolo corretto della capacità del serbatoio di accumulo vale la regola seguente: 1 kW di potenza della caldaia = 55 l di capacità del serbatoio.
Funzionamento del sistema con serbatoi di accumulo
Accesa la caldaia, riscaldare il contenuto dei serbatoi di accumulo alla temperatura dell’acqua richiesta di 90 – 100 °C, lasciando la caldaia in funzione alla massima potenza (effettuando 2 – 4 carichi). Quindi lasciare la caldaia fino al completamento della combustione. Successivamente, il calore viene prelevato dal serbatoio di accumulo mediante una valvola a tre vie per il tempo corrispondente alla capacità del serbatoio di accumulo e alla temperatura esterna. Nella stagione di riscaldamento (nel rispetto delle capacità minime dei serbatoi di accumulo, vedi tabella) questo può corrispondere a 1 – 3 giorni. Se non è possibile disporre di serbatoi di accumulo, si consiglia di installare almeno un serbatoio da 500 – 1000 l per compensare le partenze e gli arresti di funzionamento della caldaia.
Isolamento dei serbatoi
Normalmente, i serbatoi di accumulo vengono forniti senza isolamento. La soluzione idonea consiste nell’isolamento comune di tutti i serbatoi dalla capacità richiesta con lana minerale inserita in una struttura di cartongesso, o riempiendo la struttura con isolante sfuso. Lo spessore consigliato della lana minerale è di 120 mm. In alternativa, è possibile acquistare serbatoi già isolati con lana minerale (100 mm) in una custodia in similpelle, anche essi di nostra fornitura.
Riscaldamento dell’acqua calda sanitaria
Per il riscaldamento dell’acqua calda sanitaria può essere usato un bollitore combinato o un serbatoio di accumulo con scaldacqua istantaneo in rame.
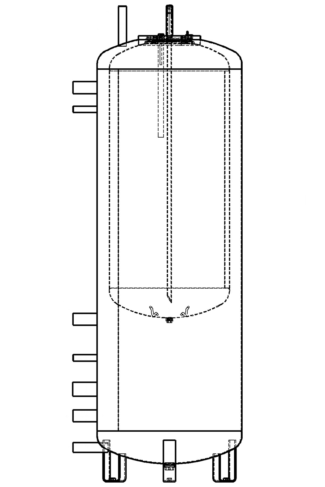
Parametri dei serbatoi
- 1. | 2. | 3.
| Descrizione dei serbatoi di accumulo | |||
| 1. | manicotto – 5/4“ | 8. | uscita sotto il boiler dell’acqua calda sanitaria annidato (tipo di serbatoio 2) – 5/4“ |
| 2. | condotto di uscita superiore – 5/4“ | 9. | uscita tra il boiler acqua calda annidato e lo scambiatore solare (tipo di serbatoio 3) – 5/4“ |
| 3. | manicotto per termometro – 1/2“ | 10. | condotto di uscita per acqua calda sanitaria – 1“ |
| 4. | manicotto per termometro – 1/2“ | 11. | manicotto di scambiatore solare – ingresso – 1“ |
| 5. | manicotto per cartuccia riscaldante elettrica – M48x2 | 12. | manicotto di scambiatore solare – uscita – 1“ |
| 6. | condotto di uscita inferiore – 5/4“ | 13. | condotto di uscita superiore (tipo di serbatoio 2 i 3) – 1“ |
| 7. | manicotto per rubinetto di scarico – 1“ | ||
| Dimensioni dei serbatoi di accumulo ATMOS | ||||||||
| Tipo di serbatoio | AN 500 (DZ) |
AN 600 (DZ) |
AN 750 (DZ) |
AN 750 (DH) |
AN 800 (DH) |
AN 1000 (DH) |
AN 1000 (DZ) |
|
| Dimensione (mm) |
H | 1946 | 1611 | 2001 | 1761 | 1916 | 2214 | 2015 |
| H1 | 1971 | – | 2029 | – | 1944 | – | 2044 | |
| Hk | 1966 | 1631 | 2021 | 1781 | 1936 | 2234 | 2035 | |
| Hk1 | 1991 | – | 2049 | – | 1964 | – | 2064 | |
| A | 142 | 169 | 169 | 179 | 179 | 179 | 167 | |
| B | 273 | 300 | 300 | 280 | 280 | 280 | 275 | |
| C | 1633 | 1270 | 1660 | 1384 | 1540 | 1840 | 1675 | |
| E | 513 | 540 | 540 | 520 | 520 | 520 | 515 | |
| F | 1543 | 1180 | 1570 | 1294 | 1450 | 1750 | 1585 | |
| G | 383 | 410 | 410 | 390 | 390 | 390 | 385 | |
| I | 195 | – | 195 | 195 | – | – | 195 | |
| J | 76 | – | 76 | 76 | – | – | 76 | |
| K | 993 | – | 1020 | 932 | – | – | 1065 | |
| L | 923 | – | 910 | 870 | – | – | 1015 | |
| M | 263 | – | 290 | 250 | – | – | 265 | |
| N | 673 | – | 720 | 639 | – | – | 715 | |
| Diametro (mm) |
Ø d | 600 | 750 | 750 | 790 | 790 | 790 | 850 |
| 1/2/6/8/9/ | 5/4“ | 5/4“ | 5/4“ | 5/4“ | 5/4“ | 5/4“ | 5/4“ | |
| 3/4 | 1/2“ | 1/2“ | 1/2“ | 1/2“ | 1/2“ | 1/2“ | 1/2“ | |
| 5 | M48x2 | M48x2 | M48x2 | M48x2 | M48x2 | M48x2 | M48x2 | |
| 7/10/11/12/13 | 1“ | 1“ | 1“ | 1“ | 1“ | 1“ | 1“ | |
Serbatoi di accumulo – base
| Serbatoio – tipo DZ | Il serbatoio stesso | Isolamento stesso (100 mm) | Serbatoio incluso isolamento | ![]() |
|||
| Codice | Peso | Codice | Peso | Codice | Peso | ||
| AN 500 | P0139 | 91,00 kg | P0151 | 23,00 kg | P0142 | 114,00 kg | |
| AN 600 | P0236 | 82,00 kg | P0237 | 10,50 kg | P0238 | 100,00 kg | |
| AN 750 | P0140 | 120,00 kg | P0152 | 22,00 kg | P0143 | 144,00 kg | |
| AN 1000 | P0141 | 136,00 kg | P0153 | 25,00 kg | P0144 | 161,00 kg | |
| Serbatoio – tipo DH | |||||||
| AN 750 | P0170 | 120,00 kg | P0173 | 22,00 kg | P0176 | 142,00 kg | |
| AN 800 | P0199 | 116,00 kg | P0200 | 22,00 kg | P0201 | 138,00 kg | |
| AN 1000 | P0171 | 132,00 kg | P0174 | 25,00 kg | P0177 | 161,00 kg | |
Serbatoio di accumulo con bollitore galleggiante 200 l per ACS
| Serbatoio – tipo DZ | Il serbatoio stesso | Isolamento stesso (100 mm) | Serbatoio incluso isolamento | ![]() |
|||
| Codice | Peso | Codice | Peso | Codice | Peso | ||
| AN 500/2 | P0145 | 133,00 kg | P0154 | 23,00 kg | P0148 | 156,00 kg | |
| AN 750/2 | P0146 | 168,00 kg | P0155 | 30,00 kg | P0149 | 198,00 kg | |
| AN 1000/2 | P0147 | 181,00 kg | P0156 | 25,00 kg | P0150 | 206,00 kg | |
| Serbatoio – tipo DH | |||||||
| AN 800/2 | P0202 | 160,00 kg | P0203 | 25,00 kg | P0204 | 185,00 kg | |
*le caldaie galleggianti (nidificate) per il riscaldamento dell’acqua calda sanitaria sono smaltate all’interno
Serbatoio di accumulo con bollitore galleggiante 140 l per ACS + sistema solare
| Serbatoio – tipo DZ | Il serbatoio stesso | Isolamento stesso (100 mm) | Serbatoio incluso isolamento | ![]() |
|||
| Codice | Peso | Codice | Peso | Codice | Peso | ||
| AN 500/3 – 1,7 m2 | P0160 | 151,00 kg | P0166 | 23,00 kg | P0163 | 174,00 kg | |
| AN 750/3 – 2,3 m2 | P0161 | 185,00 kg | P0167 | 30,00 kg | P0164 | 215,00 kg | |
| AN 1000/3 – 3,3 m2 | P0162 | 217,00 kg | P0168 | 25,00 kg | P0165 | 242,00 kg | |
| Serbatoio – tipo DH | |||||||
| AN 800/3 – 2,3 m2 | P0205 | 170,00 kg | P0206 | 25,00 kg | P0207 | 196,00 kg | |
*le caldaie galleggianti (nidificate) per il riscaldamento dell’acqua calda sanitaria sono smaltate all’interno
Corpo riscaldante elettrico con termostato per serbatoio di accumulo
TJ-M48x2 – 4,5 kW
TJ-M48x2 – 6 kW
- Esempio di collegamento di serbatoi di accumulo
| Diametri minimi delle tubazioni per collegamento con serbatoi di accumulo | ||||
| Tipo e potenza della caldaia | parte A | parte B | ||
| in rame | in acciaio | in rame | in acciaio | |
| DC18S, C18S, DC20GS | 28 x 1 | 25 (1″) | 28 x 1 | 25 (1″) |
| DC22S, DC25S, DC25GS, C20S, DC22SX | 28 x 1 | 25 (1″) | 28 x 1 | 25 (1″) |
| DC32S, DC32GS, C30S, DC30SX | 35 x 1,5 | 32 (5/4″) | 28 x 1 | 25 (1″) |
| DC40GS, C40S, DC40SE, DC40SX | 35 x 1,5 | 32 (5/4″) | 28 x 1 | 25 (1″) |
| DC50S, DC50SE | 42 x 1,5 | 40 (6/4″) | 35 x 1,5 | 32 (5/4″) |
| DC70S, DC75SE, DC100 | 54 x 2 | 50 (2″) | 42 x 1,5 | 40 (6/4″) |
| Volume minimo dell’accumulo | ||||||||
| Prestazione / kW | 15 – 20 | 20 – 30 | 30 – 35 | 35 – 40 | 40 – 50 | 50 – 70 | 70 – 100 | 150 |
| Volume / l | 1000 – 1500 | 1500 – 2000 | 2000 – 2500 | 2500 – 3000 | 3000 – 4000 | 4000 – 5000 | 5000 – 6000 | 8000 – 9000 |





