Das Gerät (Zubehör) ermöglicht die Versorgung des Brenners ATMOS A25 mit Verbrennungsluft aus dem Außenbereich, beispielsweise für Objekte, die einen Blower-Door-Test (Gebäudeluftdurchlässigkeitstest) erfordern.
Das Anschlussset für die externe Verbrennungsluftzufuhr ist nur für den Brenner ATMOS A25 mit einer Kesselleistung von 25 kw geeignet.
Entwickelt für Kessel mit Abluftventilator
D20P, D15PX, D20PX, D25PX
Entwickelt für Kessel ohne Abluftventilator
D15P, D10PX, D14P, D21P, D25P
Lieferumfang:
- 1x Flansch der externen Luftzufuhr für A25
- 1x Flanschdichtung
- 15x Schraube Ø 4 mm (einschl. Bohrer)
- 4x Schraube 4 x 30 mm (in Dübel)
- 4x Dübel
- 1x Alu-Flexrohr, Innendurchmesser 100 mm, Länge 5 m (für Wandöffnung Ø 110 mm)
- 1x flexibler Schlauch, Durchmesser 100 mm, Länge 70 cm (für DxxPX, PXxx)
- 1x Halterung für Schlauch mit Rohrstutzen – Verbindungsstück des flexiblen und nicht flexiblen Schlauches (für DxxPX, PXxx)
- 3x Schlauchhalterung – für Befestigung des Schlauches am Kessel oder an der Wand
- 3x Rohrschelle für Befestigung des Schlauches mit Rohrstutzen zur Halterung
- 1x Abdeckung – Außengitter für Hausfassade (rund – Achtung! Nicht verwechseln!)
Beispiele für die Installation einer externen Luftversorgung in Heizräumen
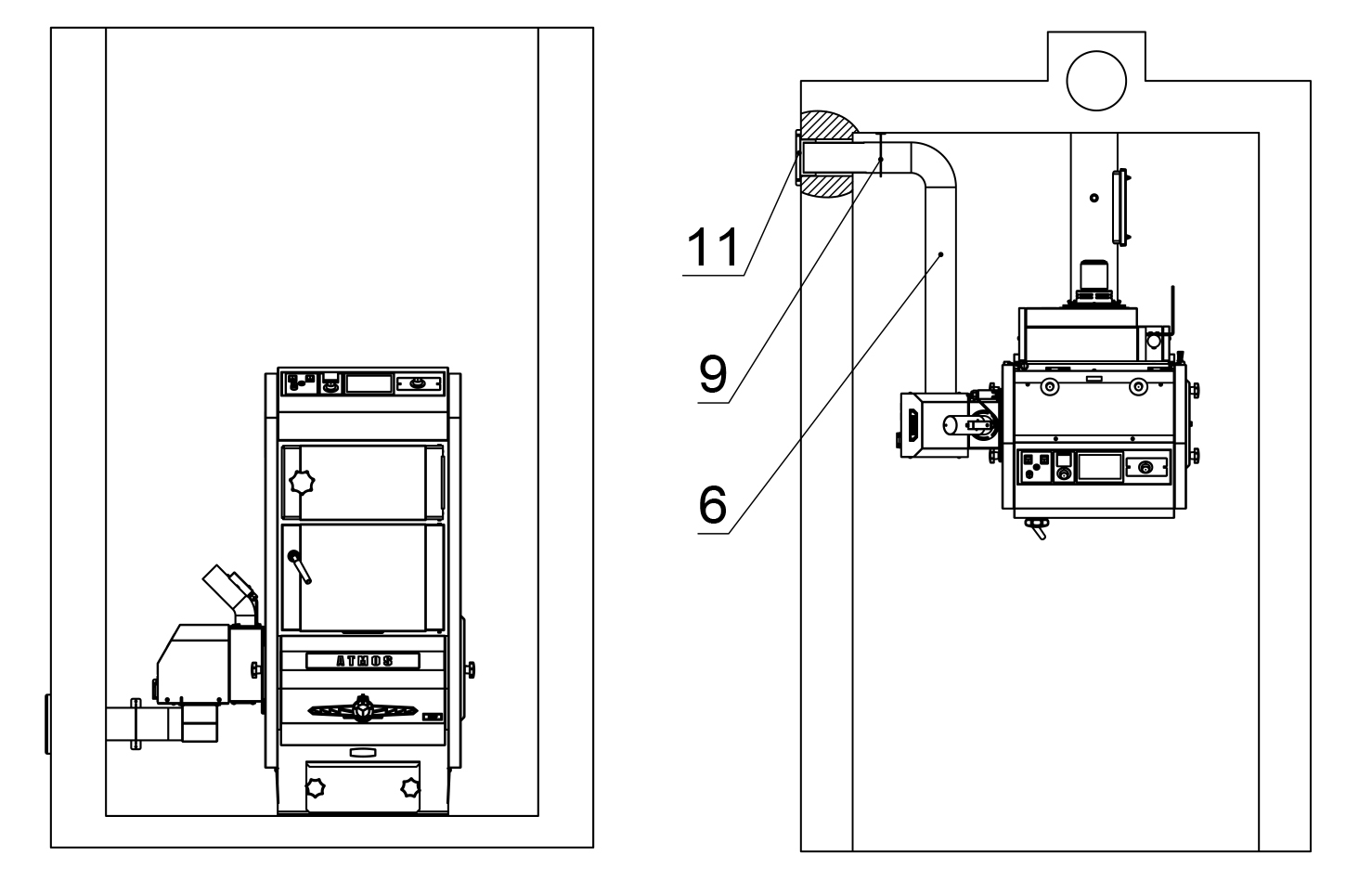
Kessel: DxxPX / PXxx
Montage mit Anschluss rechts und
mit Flexrohr für einfaches Öffnen
der Tür
– ein Bogen 90°
6 – Alu-Flexrohr Ø 100 mm
7 – flexibler Schlauch
8 – Halterung für Schlauch mit Rohrstutzen
9 – Schlauchhalterung
11 – Außengitter für Hausfassade
Kessel: DxxPX / PXxx

Montage mit Anschluss rechts und
mit Flexrohr für einfaches Öffnen
der Tür
– ohne Bogen
6 – Alu-Flexrohr Ø 100 mm
7 – flexibler Schlauch
8 – Halterung für Schlauch mit Rohrstutzen
9 – Schlauchhalterung
11 – Außengitter für Hausfassade
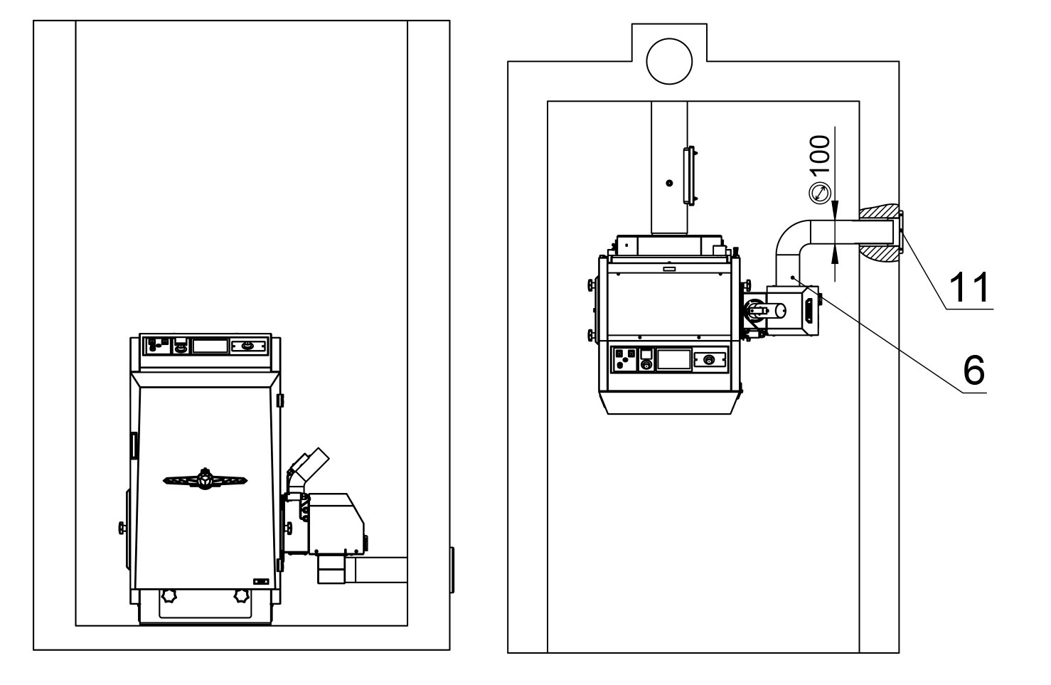
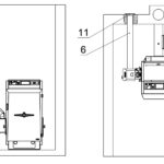
Kessel: D14P, D21P, D25P / P14, P21, P25
D15P, D20P / P15, P20

Montage mit Anschluss rechts
– ein Bogen 90°
6 – Alu-Flexrohr Ø 100 mm
11 – Außengitter für Hausfassade
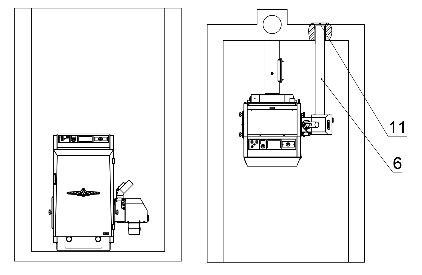
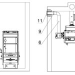
Kessel: D14P, D21P, D25P / P14, P21, P25
D15P, D20P / P15, P20

Montage mit Anschluss rechts
– ohne Bogen
6 – Alu-Flexrohr Ø 100 mm
11 – Außengitter für Hausfassade
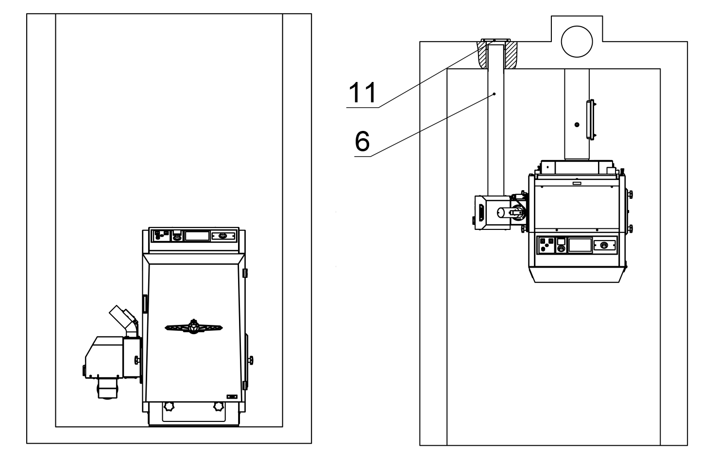
Kessel: D14P, D21P, D25P / P14, P21, P25
D15P, D20P / P15, P20

Montage mit Anschluss links
– ohne Bogen
6 – Alu-Flexrohr Ø 100 mm
11 – Außengitter für Hausfassade
Kessel: D14P, D21P, D25P / P14, P21, P25
D15P, D20P / P15, P20
Montage mit Anschluss links
– ein Bogen 90°
6 – Alu-Flexrohr Ø 100 mm
9 – Schlauchhalterung
11 – Außengitter für Hausfassade